Un remorqueur portuaire et cotier (RPC) de la base (…)
Barracuda, la nouvelle génération de SNA (sous marins (…)
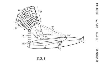
Ce schéma accompagne le brevet
L’US Navy n’est certainement pas en manque d’idées d’armes non conventionnelles à développer. Elle semble même avoir encore beaucoup d’autres idées dans son sac. Un brevet qu’elle a récemment déposé révèle une nouvelle arme qui prend une voie légèrement différente pour atteindre sa cible.
Même si elle est non-conventionnelle, elle ne semble certainement pas mortelle, puisqu’elle utilise un sonar pour créer ce que la Navy décrit comme "une cavitation acoustique à distance". Elle est supposée détruire les torpilles, les mines et tout autre "objet indésirable" situé à portée.
Mieux encore, la Navy indique que cela peut être fait jusqu’à une distance de près d’un kilomètre, ce qui est apparemment beaucoup plus loin que d’autres exemples similaires de la technologie.
Ce qui est moins clair, cependant, c’est comment la Navy prévoit de faire face aux essaims apparemment inévitables de dauphins en colère passant à l’attaque pour se venger.
Consulter le brevet en ligne.
Engadget (Etats-Unis)
Le nouveau sous-marin nucléaire d’attaque américain USS Massachusetts rejoint la flotte
La marine américaine lance l’opération Ice Camp 2026 dans l’océan Arctique avec la participation de la marine nationale
Un sous-marin américain a coulé un navire de guerre iranien dans l’océan Indien
Le dilemme de l’US Navy : comment remplacer ses sous-marins nucléaires lanceurs de missiles de croisière
L’US Navy achève la première révision générale avec remplacement du combustible nucléaire d’un sous-marin de la classe Los Angeles
Un sous-marin nucléaire américain arrive à Busan pour se ravitailler
L’US Navy réceptionne son 25ème sous-marin nucléaire d’attaque de type Virginia
Le Sénat américain valide le financement de cinq sous-marins nucléaires lanceurs d’engins classe Columbia
L’US Navy envisage de construire des sous-marins diesel-électrique plus discrets et moins chers que les nucléaires
Un sous-marin américain tire quatre missiles nucléaires Trident II D5LE dans l’Atlantique